ECM or ECU How to test?
I have a 1995 1/2 v6 2.7 honda accord Automatic That is showing codes 1361 TDC Sensor intermitten 1381 Cyl1 Position sensor intermitten and 0336 CPS at circuit, when car warms up. Sputters and stalls when running when we clear the codes the car runs fine until the codes come back on then it goes back to sputtering and stalling. We have replaced the ignator in the distributor, cap rotor, wires. There is nothing else in the distributer that we can see. So Does anyone know How do we test the ECM? Any suggestions would be appericiated..
You could try pulling the PCM and looking at the actual circuit board for failing parts. A bad circuit board is not always obvious.
To test the PCM, you need to swap it out. You may be able to find a used PCM by searching car-part.com. This searches junkyards that subscribe by price or distance. Ebay is another source for parts. U-pull-it yards are good sources, but the V6 accord was not as common as the I4.
To test the PCM, you need to swap it out. You may be able to find a used PCM by searching car-part.com. This searches junkyards that subscribe by price or distance. Ebay is another source for parts. U-pull-it yards are good sources, but the V6 accord was not as common as the I4.
P1361 (Top Dead Center (TDC) Sensor Intermittent Interruption) and P1381 (Cylinder Position (CYP) Sensor Intermittent Interruption) is indicating a problem in TDC/CYP circuit.
The TDC/CYP sensor is located behind the front camshaft. It's a combo sensor (Top Dead Center/ Cylinder Position Sensor). The sensor usually doesn't go bad often. Check the TDC/CYP connector (C109 - see attached pic.) to ensure the connection is clean and tight and wiring is okay.
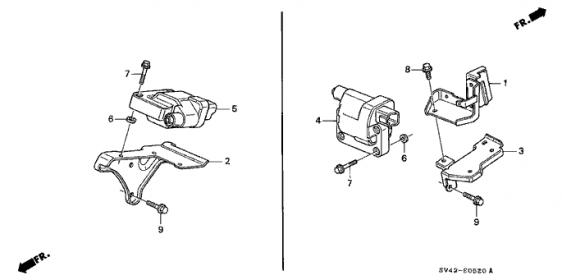
Your issue may actually turn out to be something different, it may be due to a bad ignition coil (Part # 5 in diagram). A bad ignition coil may cause these trouble codes and what you're experiencing.
The TDC/CYP sensor is located behind the front camshaft. It's a combo sensor (Top Dead Center/ Cylinder Position Sensor). The sensor usually doesn't go bad often. Check the TDC/CYP connector (C109 - see attached pic.) to ensure the connection is clean and tight and wiring is okay.
Your issue may actually turn out to be something different, it may be due to a bad ignition coil (Part # 5 in diagram). A bad ignition coil may cause these trouble codes and what you're experiencing.
We tested the coil and it tested good, we replaced the crank position sensor and it is still throwing the code. We have replaced the ignitor in the distributor, and the ecm. Does anyone have anymore suggestions we are at a stand still. There are no broken wires. The car sputtered out at 3500 tons and throws the code immediately. Thanks for any suggestions.
I don't know whether this may apply for your generation and V6; but, on 98-02 L4 Accords, faulty diodes in the alternator can cause electrical interference to cause the P1381 trouble code. Just throwing this out there.
Honda Service News Sept 2005
Honda Service News Sept 2005
This is just info. for future forum users that may search the boards:
There was a July 2003 Honda Service News applicable to 95-97 V6 which may indicate a faulty crankshaft position sensor.
DTC P1361 and DTC P1381 Set: ’95–97 Accord V6
If both DTC P1361 (top dead center sensor intermittent interruption) and DTC P1381 (cylinder position sensor intermittent interruption) are set in a ’95–97 Accord V6, replace the crankshaft position sensor even though the tests in the 1995–97 Accord V6 Supplement S/M may be inconclusive. If either DTC sets individually, find out the cause by following the S/M troubleshooting (pulling and wiggling the wiring harnesses, checking the pin fit, and measuring the sensor resistance).
The original poster (rrobnshell2) indicated the sensor was replaced; but, still had the trouble codes.
There was a July 2003 Honda Service News applicable to 95-97 V6 which may indicate a faulty crankshaft position sensor.
DTC P1361 and DTC P1381 Set: ’95–97 Accord V6
If both DTC P1361 (top dead center sensor intermittent interruption) and DTC P1381 (cylinder position sensor intermittent interruption) are set in a ’95–97 Accord V6, replace the crankshaft position sensor even though the tests in the 1995–97 Accord V6 Supplement S/M may be inconclusive. If either DTC sets individually, find out the cause by following the S/M troubleshooting (pulling and wiggling the wiring harnesses, checking the pin fit, and measuring the sensor resistance).
The original poster (rrobnshell2) indicated the sensor was replaced; but, still had the trouble codes.
Last edited by redbull-1; Dec 25, 2013 at 06:13 PM.
P1361 (Top Dead Center (TDC) Sensor Intermittent Interruption) and P1381 (Cylinder Position (CYP) Sensor Intermittent Interruption) is indicating a problem in TDC/CYP circuit.
The TDC/CYP sensor is located behind the front camshaft. It's a combo sensor (Top Dead Center/ Cylinder Position Sensor). The sensor usually doesn't go bad often. Check the TDC/CYP connector (C109 - see attached pic.) to ensure the connection is clean and tight and wiring is okay.
Your issue may actually turn out to be something different, it may be due to a bad ignition coil (Part # 5 in diagram). A bad ignition coil may cause these trouble codes and what you're experiencing.

The TDC/CYP sensor is located behind the front camshaft. It's a combo sensor (Top Dead Center/ Cylinder Position Sensor). The sensor usually doesn't go bad often. Check the TDC/CYP connector (C109 - see attached pic.) to ensure the connection is clean and tight and wiring is okay.
Your issue may actually turn out to be something different, it may be due to a bad ignition coil (Part # 5 in diagram). A bad ignition coil may cause these trouble codes and what you're experiencing.

Thread
Thread Starter
Forum
Replies
Last Post
j894
PRIVATE For Sale / Trade Classifieds
4
Sep 22, 2012 05:02 PM
live2rice
PRIVATE For Sale / Trade Classifieds
7
Sep 20, 2012 02:26 PM
anaccordex
PRIVATE For Sale / Trade Classifieds
1
Jan 28, 2010 01:59 AM




