So my stereo got stolen....
I had bought a nice stereo from Amazon. And get this, I installed it myself. I was so proud that I did it right. Anyway, one day I took it to the mechanic and forgot to tell him to take the faceplate off. AND he left the doors unlocked. The car was at his place overnight. Wouldn't you know? The next day I got a call from him saying that the stereo was stolen. Not to worry though, he gave me another one. But, he does not install stereos, so I have to look for someone else to do it. Why?
BECAUSE THOSE M'FERS RIPPED OUT THE STEREO. YES, THEY JUST RIPPED IT OUT. AND NOW...
When I went looked at the wires, THE RED ONE IS GONE. Yes, the power wire is gone. Completely. I can't even feel it in the back.
Now, luckily, I had gotten a set of original wires from Amazon too. But now, the problem is, How do I find where the red wire goes? I want to go to Best Buy to get a new one and have it installed, but what if they say they can't because the red wire isn't there?
BECAUSE THOSE M'FERS RIPPED OUT THE STEREO. YES, THEY JUST RIPPED IT OUT. AND NOW...
When I went looked at the wires, THE RED ONE IS GONE. Yes, the power wire is gone. Completely. I can't even feel it in the back.
Now, luckily, I had gotten a set of original wires from Amazon too. But now, the problem is, How do I find where the red wire goes? I want to go to Best Buy to get a new one and have it installed, but what if they say they can't because the red wire isn't there?
I cut it off. My dad told me to do it. Then I went to buy some of those little cap thingies that you use to put two wires together and I used those to secure the wires. The stereo worked like it was suppose to. I'm just wondering if I'm going to need to pay someone to get the cable back in there.
I'm confused, not hard to do and I haven't had the proper intake of coffee yet.
Car wires:
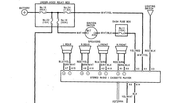
Power is from the YEL/RED wire-key on.
"Memory Power" is from the WHT/YEL
Headlight "Dim" or whatever is from the RED/BLK
Now how and where they go on an aftermarket system is a different story.
Car wires:
Power is from the YEL/RED wire-key on.
"Memory Power" is from the WHT/YEL
Headlight "Dim" or whatever is from the RED/BLK
Now how and where they go on an aftermarket system is a different story.
Sorry for confusing you. lol
The red wire is COMPLETELY GONE from my car. When they pulled out the stereo, they pulled out the wire that was connected to my car. The speaker wires and everything else is there. The only thing missing is the red wire.
The red wire is COMPLETELY GONE from my car. When they pulled out the stereo, they pulled out the wire that was connected to my car. The speaker wires and everything else is there. The only thing missing is the red wire.
Or let me try this a different way.
The RED wire that is power to the new radio should connect to the YEL/RED factory wire.
Sounds like when they "pulled it" the wire broke where it was "spliced" into the fatory wire.
The RED wire that is power to the new radio should connect to the YEL/RED factory wire.
Sounds like when they "pulled it" the wire broke where it was "spliced" into the fatory wire.
Here is another radio wiring guide.
http://www.installdr.com/InstallDocs...PDF/466033.PDF
I guess the issue here is identifying this "red" wire, if it was not part of the existing radio and was part of the original OEM wiring, then it may of had red with another color.
One method is to identify which wire still exist and possibly label them, then see which one is it that needs to have a new wire spliced, etc.; it may be one of the speaker wires.
Not trying to throw salt onto a wound; but, it's generally better to not cut the OEM wires during a radio install and just buy the wiring connector kit.
http://www.installdr.com/InstallDocs...PDF/466033.PDF
I guess the issue here is identifying this "red" wire, if it was not part of the existing radio and was part of the original OEM wiring, then it may of had red with another color.
One method is to identify which wire still exist and possibly label them, then see which one is it that needs to have a new wire spliced, etc.; it may be one of the speaker wires.
Not trying to throw salt onto a wound; but, it's generally better to not cut the OEM wires during a radio install and just buy the wiring connector kit.
Okay, I guess I did confuse everyone with the red wire thing. It looks like its the yellow/red wire from the original stereo. this is a diagram I drew on paint.
As you can see, the square is the hole where the stereo goes and the lines coming out are the lines connected to the car that were connected to the originial stereo. I drew them black because I didn't want to use every color. The yellow just looked pretty so I put it in there. The red/yellow is the one I am talking about. It is the one connected to the power supply. As you can see, it is in the before picture, but not in after. I tried sticking my hand inside the hole and I can't feel where the wire would be.
As you can see, the square is the hole where the stereo goes and the lines coming out are the lines connected to the car that were connected to the originial stereo. I drew them black because I didn't want to use every color. The yellow just looked pretty so I put it in there. The red/yellow is the one I am talking about. It is the one connected to the power supply. As you can see, it is in the before picture, but not in after. I tried sticking my hand inside the hole and I can't feel where the wire would be.



