General Tech Help Good at troubleshooting? Have a non specific issue? Discuss general tech topics here.

Accord 03 EX Navi - air conditioning stopped working

Thread Tools
 
Search this Thread
 
Old Jun 28, 2014 | 11:20 AM
  #11  
mbarry's Avatar
Thread Starter
|
Newest Of Newbies
Joined: Jun 2011
Posts: 16
Default

Originally Posted by PAhonda
You still have some more testing to do. The problem could be from the PCM that turns on the compressor, to the compressor. There are still some basic tests you can try.

Now you need to determine if the compressor is getting power when you turn on the a/c. Your compressor may have more than one wire going to it. Using a volt meter, the blu/red wire should have 12V to ground.

If you know how to check for closed circuit, you can unplug the pressure switch and try testing the switch to verify that the circuit is closed. Alternatively, you could briefly jump the pressure switch electrical connector and see if the clutch plate engages. The pressure switch will be the only item on the piping to the compressor that has something plugged into it.


I don't have a volt meter - and unfortunately have never used one. I could get one I suppose, if you could steer me to a good one to buy.


Unfortunately, I don't know how to check for a closed circuit either. I'm going to include a picture I took of what I think is the pressure switch electrical connector - circled in red. Not sure how I would jump it.


I saw a youtube video where a guy jumped the fuse in the external fusebox under his hood (
) but I don't know if that would apply here.


I'm certainly willing to proceed with these tests - I just need a bit more info on how to do that.
 
Attached Thumbnails Accord 03 EX Navi - air conditioning stopped working-accord03.jpg  
Old Jun 28, 2014 | 11:22 AM
  #12  
mbarry's Avatar
Thread Starter
|
Newest Of Newbies
Joined: Jun 2011
Posts: 16
Default

Originally Posted by redbull-1
Also, check under-hood Fuse No. 12 (7.5A) to make sure the fuse for the A/C compressor clutch relay is not blown.




It's not. Thanks for that, though. I might just replace it anyway - they're cheap at Autozone.
 
Old Jun 28, 2014 | 12:32 PM
  #13  
redbull-1's Avatar
Super Moderator
Joined: Oct 2010
Posts: 7,099
From: United States
Default

In the youtube video you've attached, the guy bypassed the A/C compressor clutch relay and everything else in the A/C system circuit (not jump a fuse or relay, for that matter; it is just applying direct power to the A/C compressor).

You can do the similar thing; but, only as a brief test to check that the compressor runs.

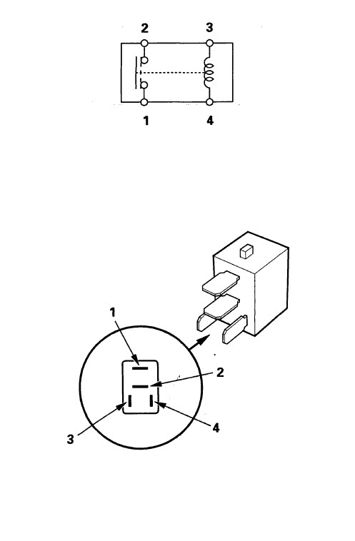
1. The A/C compressor clutch relay is number 2, as shown in the attached under-hood fuse/relay box diagram.

2. You would pull that relay out, then use a jumper wire where relay terminals no. 1 and no. 2 would normally be plugged into.

Warning: It is not a fix, in any measure. This is only a test. Do not leave it like that.
 
Attached Thumbnails Accord 03 EX Navi - air conditioning stopped working-ac-compressor-clutch-relay.jpg   Accord 03 EX Navi - air conditioning stopped working-relay.jpg  

Last edited by redbull-1; Jun 28, 2014 at 03:52 PM. Reason: Warning: it is not a fix.
Old Jun 28, 2014 | 12:41 PM
  #14  
redbull-1's Avatar
Super Moderator
Joined: Oct 2010
Posts: 7,099
From: United States
Default

1. Your picture with the electrical connector circled in red is the connector for the A/C compressor, which supplies power via the A/C compressor clutch relay located in the under-hood fuse box. That is not the A/C pressure switch.

2. The A/C pressure switch is attached to piping connected to the A/C condenser.
 

Last edited by redbull-1; Jul 5, 2014 at 09:13 PM. Reason: images removed
Old Jun 29, 2014 | 09:21 PM
  #15  
mbarry's Avatar
Thread Starter
|
Newest Of Newbies
Joined: Jun 2011
Posts: 16
Default

I want to tell you all how much I appreciate the help you're giving me, but I'm just a bit reluctant to try to deal with volt meters and jumping circuits.


I went to a shop where I've had work done before (and been satisfied with it) and had them evacuate and then re-charge my system. They did a leak check and it passed, but there was only 12 oz of refrigerant in the car. It should have been somewhere around 20 I was told. So, over the life of the car I've lost about 8 oz of refrigerant.


They then tried the a/c, and it didn't work. They tried to get the clutch going but couldn't do it. The estimate on the repair was a new condenser and whatever else needed to be replaced along with it for $877, or $1177 if they had to replace the drier part of the a/c.


From what I've read, the price of $900 sounds in line with what other shops charge. Does the extra $300 for the drier part of it sound legit? He explained to me that little ***** of silicate often break out of the bags and get into the system.


Thanks..
 
Old Jun 29, 2014 | 09:53 PM
  #16  
PAhonda's Avatar
Super Moderator
Joined: Sep 2006
Posts: 16,329
From: Houston, TX
Default

You can stop by your local discount store and pick up a volt meter around $10-20. We can walk you through the tests. It is not very difficult. If you can measure the battery voltage across the posts, we can walk you through this.

This may be as simple as a relay or a burned fuse. I had this happen on my TSX due to a misrouted vacuum hose (long story).

Your car takes about 18oz of R-134a, so you don't have a large leak, but there is certainly a leak.
 
Old Jun 30, 2014 | 10:33 AM
  #17  
mbarry's Avatar
Thread Starter
|
Newest Of Newbies
Joined: Jun 2011
Posts: 16
Default

What sort of volt meter do I need to get? Any brand you recommend, or specific model? Any minimum requirements on extra bells and whistles? Digital readout over one with a needle?


I'm willing to try this if you think I can do it. I just don't want to accidentally ruin something or short out the system.
 
Old Jun 30, 2014 | 11:14 AM
  #18  
redbull-1's Avatar
Super Moderator
Joined: Oct 2010
Posts: 7,099
From: United States
Default

1. In regards to a multimeter, you don't need anything high end; but, some of the best are made by Fluke, starting around $110 and up.

Most any multimeter can work though. For example, right now, Sears has a pretty decent Craftsman multimeter with a bonus AC voltage detector (which can be used for other things) on sale for $16.99 plus tax if you use the online purchase feature and pick up in store. Alternately, Harbor Freight has a usable multimeter on sale for $5.49 right now.

2. However, with that said, sounds like the mechanic you brought your car to may have already diagnosis the problem. So, the use of a multimeter at this point may not reveal much more.

Get some more detailed information from the mechanic what is the specific problem (e.g., A/C condenser and/or A/C compressor?).

3. In regards to the receiver/dryer, that part is only around $42 (Honda list price).

4. When you try to turn on the A/C, if both cooling fans in the engine compartment run, then most likely the A/C pressure switch is okay and the signal from the PCM (car's computer is okay). Therefore, a test of the A/C pressure switch is probably not necessary.

5. For the most part, the tests we describe are relatively safe if precautions are taken.
 
Old Jul 24, 2014 | 08:50 AM
  #19  
mbarry's Avatar
Thread Starter
|
Newest Of Newbies
Joined: Jun 2011
Posts: 16
Default

I wanted to put a cap on this thread. I got my a/c fixed for about $725. I needed a new compressor. He left the condenser alone, which I appreciated. When I first got it back, the a/c would finally blow cool air after about half a minute. Had one episode last Friday where it wouldn't blow cool air at all! (This is after I got it back from the shop). So, eventually it came on, and has been coming on pretty immediately after startup ever since. Not sure what that one blip was this past Friday, but it's working great now.


Thank you all for your help. I will post another question soon, because I have a passenger side window (front) that only clicks now instead of going up and down.
 
Related Topics
Thread
Thread Starter
Forum
Replies
Last Post
shoot22
General Tech Help
12
Feb 2, 2019 05:40 AM
smudo73
General Tech Help
8
Jan 7, 2015 12:48 PM
Vortecks
General Tech Help
4
Sep 20, 2011 05:44 PM
zachyzissou
Audio/Visual Electronics
7
May 14, 2009 04:01 PM
sbclemens
General Tech Help
3
Aug 6, 2006 09:42 PM




All times are GMT -5. The time now is 05:37 AM.